搜索
“正大期货"
扫码下载APP
作者: 正大期货 来源:https://www.xasswkj.com/ 阅读次数:次 2025-04-15 16:34 【字体: 大 中 小】
一个具身智能独角兽正式进入上市最后冲刺阶段。
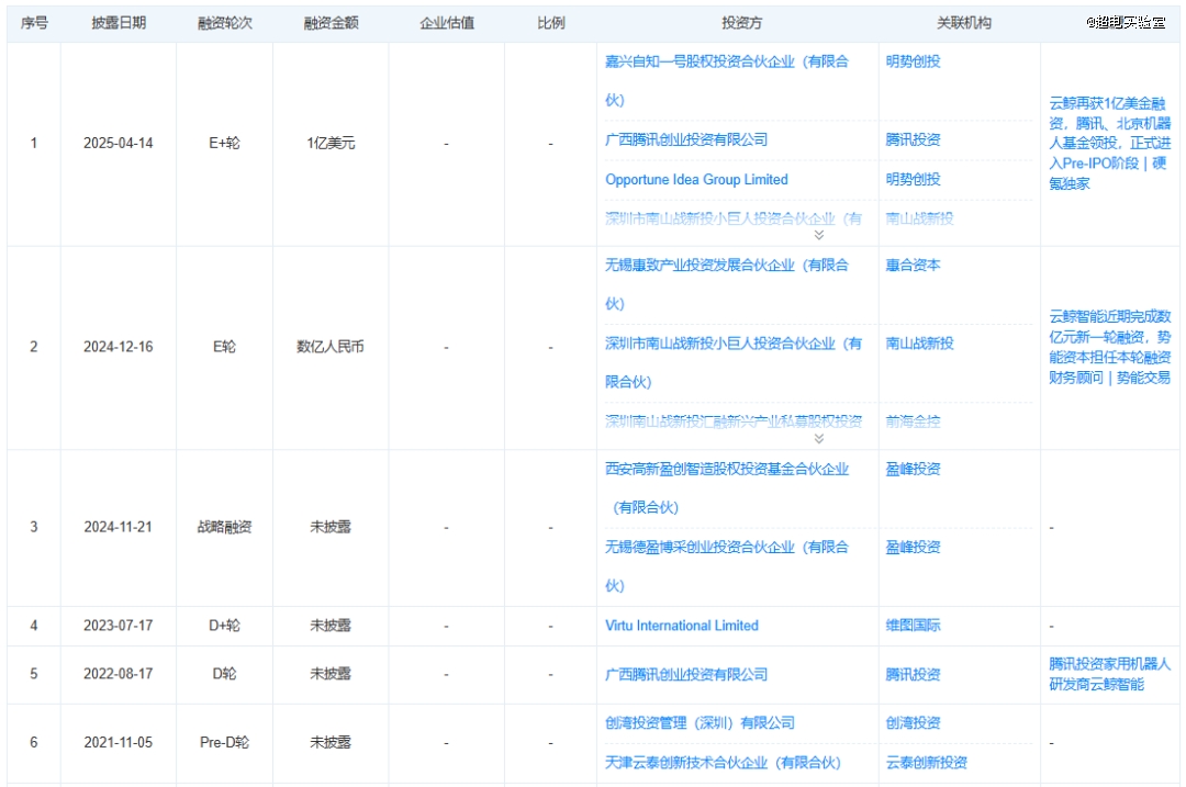
深圳家庭清洁服务机器人企业云鲸智能,刚刚宣布完成1亿美金(约合人民币7.3亿元)融资,并启动Pre-IPO轮融资。
这一轮由腾讯投资与北京市机器人产业基金联合领投,科幻基金与明势创投加码跟投,庚辛资本担任*财务顾问。
这也是自去年底融资完成后,最新的一轮融资,云鲸方面表示,这轮融资所得将重点投向家庭具身智能产品的研发,由创始人张峻彬亲自带队,预期将在2年内发布。
随即还宣布,云鲸正式启动Pre-IPO轮融资,开启上市前最后冲刺。
云鲸智能成立于2016年,是一家家用机器人企业,主要产品包括扫地机器人和手持洗地机。团队核心人员大多来自华中科大、上海交大等学府,且有大疆、华为、微软等任职背景。
特别是其创始人张峻彬,2015年在上海交通大学毕业后,进入了XbotPark机器人基地,师从香港科技大学教授,“大疆教父”李泽湘,成为松山湖基地的*批创业者之一。并于2016年10月在李泽湘的XbotPark机器人基地创办了云鲸智能。
之后,云鲸智能花了三年的时间闷头打磨出了*款产品——J1。这款产品凭借*的“拖布自清洁”功能引爆消费市场,多次蝉联品类销售冠军。
云鲸智能自此迎来了发展爆发期。
去年,云鲸智能发布了10款新品,不仅扫地机和洗地机均已完成全价格带布局,还像一个”爆款制造机”,扫地机收入同比增长超120%、洗地机同比增长超500%。
双十一购物狂欢节期间,云鲸智能全渠道销售额一举突破17亿,同比大幅增长200%,销售目标完成率超160%,创下品牌历史新高。扫地机收入同比增长超120%、洗地机同比增长超500%。
也正因此,云鲸智能在11月份便提前完成全年营收目标,其全年营收达34亿元,同比增长超130%,近乎实现整体营收翻番。
在海外市场上,也已经进入超50个国家,销售版图从去年同期的9个国家和地区,迅速扩展到30多个,覆盖意大利、瑞典、荷兰等多个欧洲国家。海外业务营收同比暴涨近700%。
专注CDM数据管理技术,云信达完成C1轮融资
云鲸预计,2025年其海外市场还将保持3-4倍增长,同时海外新品发布数量预计同比增长300%,海外新增布局国家数量超 70个。
有了产品和销量的云鲸不仅证明了自己,也坐上了资本顺风车。复盘整个融资进程,其背后明星资本众多。
2016年成立以来,云鲸智能已完成11轮融资,金额达数十亿元,最开始投资方也由李泽湘管理的XBOTPARK的“天使投资”,吸引到了众多明星资本。
2019年,云鲸智能完成A轮融资,投资方为盈峰集团和大米创投。其中,盈峰集团实控人是美的集团创始人何享健之子何剑锋,而且在云鲸智能整个融资历程中连续涉足4轮融资。

随后,2020年A 轮获字节跳动投资;2020年C轮获红杉中国、高瓴创投等机构投资,字节跳动加码;2022年D轮获腾讯投资。
上一轮的融资,还是发生在去年12月,吸引了深圳和无锡两大国资押注,完成数亿元人民币规模。
如今又默默完成了新一轮的融资,云鲸也正“跑步进场”下一个目标——家庭具身智能。
“家庭清洁革命正站在历史性跨越的临界点——扫地机器人仅是清洁智能化的‘iPod阶段’,而具备三维空间认知与自主决策能力的家庭具身智能体,才是开启行业‘iPhone时刻’的密钥。”张峻彬表示。
这也意味着,往后扫地机器人将不是单一设备的迭代,而是从功能型工具向自主智能体的范式迁移。
事实上,事实上,云鲸在成立之初,就已经明确定位做家庭机器人。
毕竟,扫地机为ToC机器人领域出货量*的类目,且为家庭中*一个能够自主移动的设备,同时具备环境感知能力和智能规划能力,非常适合云鲸作为进入具身家庭设备领域的*布局产品。
在扫地机品类上站稳脚步后,云鲸智能也开始显露其真正的野心。
免责声明:此消息为 正大期货原创或转自合作媒体,登载此文出于传递更多信息之目的,并不意味着赞同其观点或证实其描述,请自行核实相关内容。文章内容仅供参考,不构成 正大期货投资建议。