搜索
“正大期货"
扫码下载APP
作者: 正大期货 来源:https://www.xasswkj.com/ 阅读次数:次 2024-05-13 14:37 【字体: 大 中 小】
中东土豪又大手笔买入中国资产了。
近期,随同外资强势流入,外资动向又被投资者视为了“投资风向标”。随着上市公司一季报披露,有“伶俐钱”之称的QFII资金动向也浮出水面,其中最受关注的即是主权财富基金中的顶流,如中东土豪阿布达比投资局、科威特投资局等,通过QFII渠道大量持有A股上市公司。
中东富豪在A股的“买买买”
凭证全球主权财富基金数据平台Global SWF的统计,2023年全球前十大主权财富基金中的一半来自中东区域,划分是阿布扎比投资局(ADIA)、科威特投资局(KIA)、沙特公共投资基金(PIF)、卡塔尔投资局(QIA)以及迪拜政府投资公司(ICD)。对于A股市场的投资,中东主权基金更是“壕无人性”。
Wind数据统计,2024年一季度末,阿布达比投资局重仓持有(泛起在前十大流通股东名单中)的A股公司有27家,持仓市值合计约112.89亿元,较2023年终增添超10亿元。
持仓个股方面,阿布达比投资局一季度对11家公司举行了增持,新进8家公司的十大流通股东名单,其余则保持稳固或是适当减持,减持力度普遍较小。其中增持最多的是通化东宝,较上个讲述期增持了358.13万股。新买入最多的是京东方A,住手一季度末持仓数目为3.38万股。

行业偏好方面,阿布达比投资局在A股的结构偏向主要包罗有色金属、医药、汽车等领域。按市值来看,*大重仓股为紫金矿业,阿布达比投资局已经重仓持有多个季度:自2021年四序度末首次现身十大流通股股东名单至今,时代仅2022年三季度和2023年一季度暂时退出。
在今年2月以来的资源股热潮靠山下,作为有色金属龙头公司的紫金矿业一起走高,住手4月中旬,股价延续创下历史新高,而阿布达比投资局也是在一季度减仓了一部门落袋为安。
另一家主权财富基金科威特政府投资局为天下*家主权财富基金。凭证Wind数据,2024年一季度末,科威特政府投资局泛起在前十大流通股东名单中的A股公司有30家,持仓市值合计约45.17亿元。
持仓方面,2024年一季度,科威特政府投资局对5家公司举行了增持,新进11家公司的十大流通股东名单,对9家公司举行了减持,退出了11家公司的十大流通股东名单。其中,增持数目最多的个股为岱美股份,一季度新进共1207.53万股。

从以往的操作来看,医药生物曾是科威特政府投资局最为青睐的板块,但在近年来泛起转向,一季度新进、加仓的公司以资源、能源和汽车板块为主。
在小红书2天涨粉2万,猫meme成流量密码?
此外,中东主权基金克日在华动作一再,3月30日,太盟投资团体、中信资源、Ares Management旗下基金、阿布扎比投资局和穆巴达拉投资公司5家投资机构,在大连香格里拉旅店与大连万达商管团体举行签约仪式,宣布向万达注资600亿。5家投资机构中除了中信资源外,4家外资就有两其中东土豪。
中东主权基金年内频调研
除了真金白银地买入A股,相较于去年,中东主权基金也加大了对A股的调研力度。Wind数据统计,年头至今阿布扎比投资局共调研了9家上市公司,笼罩新能源、医药生物等领域。
其中便有博瑞医药、云南白药、三星医疗、新产业等热门医药股。新能源方面阿布扎比投资局结构意图显著,调研了广汽团体、科博达、晶盛机电等。
科威特投资局也于3月尾调研了海天瑞声,该主权基金也把投资视野转向到近年A股大热主题人工智能上。
境外主权财富基金结构中国资产
除了中东主权基金外,其余境外着名主权基金也正加码结构中国市场。
如新加坡两大主权财富基金淡马锡控股公司(简称“淡马锡”)、新加坡政府投资公司(简称“GIC”)。两家主权基金都耐久活跃于全球资源市场,且在全球主权财富基金治理人中资管规模耐久位于前十行列。
凭证运营讲述来看,淡马锡耐久将组合的20%以上设置于中国区域,而GIC的投资组合近年来也逐渐降低风险敞口,连续加配亚洲区域、减配欧洲市场。不外,淡马锡和GIC在中国的投资多以股权投资为主,二级市场淡马锡多投资中概股,GIC则多投资于港股,在二级市场A股上持仓并不重。
Wind数据统计,淡马锡和GIC重仓泛起在前十大流通股东名单中的A股公司共有7家,持仓市值合计约35.47亿元。其中持股最多的照样爱尔眼科,共5782.11万股。

与2023年终对比来看,淡马锡在今年一季度退出了美的团体和泰格医药的前十大流通股东名单,对其余4家公司也有一定减仓;GIC则退出了金龙鱼和深南电路的前十大流通股东名单,新进了华明装备、加仓了珀莱雅,小幅减仓了恒立液压。
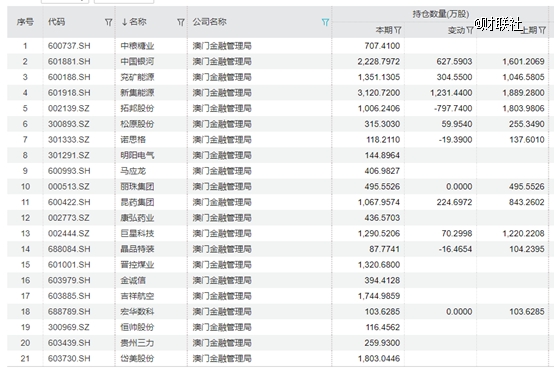
澳门金融治理局共持有21只A股,持仓32.43亿元,对比上个讲述期新增3.50亿元,其中,一季度新进了中粮糖业、明阳电气、马应龙、康弘药业、晋控煤业、金诚信、祥瑞航空、恒帅股份、贵州三力、岱美股份等10只个股。增持了中国银河、兖矿能源、新集能源、松原股份、昆药团体、巨星科技6只个股。多持有医药与能源个股。

免责声明:此消息为 正大期货原创或转自合作媒体,登载此文出于传递更多信息之目的,并不意味着赞同其观点或证实其描述,请自行核实相关内容。文章内容仅供参考,不构成 正大期货投资建议。